Выбрать город Ростов-на-Дону Выбрать город
Почта
Напишите нам!
Телефон
Бесплатно по России
Телеграм
WhatsApp

Элементы трубопроводов с кабелем вывода ППУ в Ростове-на-Дону

Элементы трубопроводов с кабелем вывода ППУ в Ростове-на-Дону напрямую от производителя. Предлагаем компоненты для подключения системы ОДК. Все изделия оснащены герметичными выводами для медных проводников. Доступны различные конфигурации и типоразмеры под любые диаметры трубопроводов.

Надежная герметизация, качественные материалы. Выгодные цены на элементы трубопровода с кабелем вывода ППУ от производителя. Быстрое изготовление и доставка по РФ и СНГ. Получить консультацию от нашего специалиста можно по номеру: 8 (800) 700-43-11.

ООО Альфа-тех Инвест с 2006 года обладает многолетним опытом производства и реализации качественных и надежных труб в ППУ изоляции и уверенно поставила себя и зарекомендовала на рынке данной продукции, подчеркивая свои лидерские качества.

Собственное налаженное производство на современном оборудовании также позволяет строго по нормам ГОСТ и других обязательных нормативно-правовых документов предложить более лучшую цену элементов трубопровода с кабелем вывода по сравнению с ценами на рынке фирм-конкурентов. Также осуществляется строгое отслеживание норм качества на каждом этапе реализации.

Элементы трубопроводов с кабелем вывода
Элементы трубопроводов с кабелем вывода

Описание:

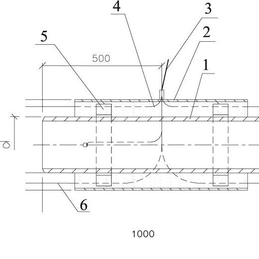
Пример условного обозначения элемента трубопровода с кабелем вывода диаметром 57 мм с изоляцией типа 1

Условные обозначения:

  1. стальная труба;
  2. оболочка;
  3. кабельный вывод;
  4. изоляция из ППУ;
  5. центрирующая опора;
  6. проводник-индикатор СОДК.
Получить каталог
трубы ППУ, фасонные изделия, комплектующие, многогранные опоры и металлоконструкции

Разновидности ППУ элементов трубопровода с кабелем вывода

Промежуточные элементы ПЭ, которые предназначены для соединения трубопроводных элементов, защитная оболочка которых выполнена из полиэтиленового материала. Применяются в частности для прокладки подземных каналов, в меньшей степени поверхностных.

Промежуточные элементы ОЦ, применяющиеся при прокладке, защищающая оболочка труб которых состоит из оцинкованного слоя. Ставится в основном при прокладке наземных видов трасс, потому что обеспечивают наибольшую защиту от механических повреждений и климатического воздействия.

Реализованные проекты

Труба в ППУ-изоляции
Труба в ППУ-изоляции

Произведена прокладка и успешно запущены в работу трубопроводы в ППУ-изоляции на АЗС Магистраль М-7 Волга 846 км.

Трубы ППУ в изоляции
Трубы ППУ в изоляции

Произведена прокладка и успешно запущены в работу трубопроводы в ППУ-изоляции в Казань, ул.Горького, д.10

Трубопровод в ППУ-изоляции
Трубопровод в ППУ-изоляции

Произведена прокладка и успешно запущены в работу трубопроводы в ППУ-изоляции в Казань, ул.Галактионова, д.3А

Трубы в ППУ-изоляции
Трубы в ППУ-изоляции

 Произведена прокладка и успешно запущены в работу трубопроводы в ППУ-изоляции в Казань, ул.Зеленая, д.1

Труба ППУ
Труба ППУ

Произведена прокладка и успешно запущены в работу трубопроводы в ППУ-изоляции в Казань, ул.Лесгафта, д. 24-2

Трубопровод ППУ
Трубопровод ППУ

Произведена прокладка и успешно запущены в работу трубопроводы в ППУ-изоляции в Казань, ул.Вишневского, д.51-3

Прокладка трубопровода
Прокладка трубопровода

Произведена прокладка и успешно запущены в работу трубопроводы в ППУ-изоляции в Казань, ул.Тополевая, д.8

Прокладка трубопровода ППУ
Прокладка трубопровода ППУ

Произведена прокладка и успешно запущены в работу трубопроводы в ППУ-изоляции  в г. Казань, ул.Миля д.63А

Прокладка трубопровода ППУ- изоляции
Прокладка трубопровода ППУ- изоляции

Произведена прокладка и успешно запущены в работу трубопроводы в ППУ-изоляции в г.Уфа, пр.Дружбы народов, стройка около д.53

Прокладка трубопровода
Прокладка трубопровода

 Произведена прокладка и успешно запущены в работу трубопроводы в ППУ-изоляции в г.Набережные Челны пр.Набережночелнинский, д.19

Трубопровод ППУ-изоляции
Трубопровод ППУ-изоляции

Произведена прокладка и успешно запущены в работу трубопроводы в ППУ-изоляции в г.Набережные Челны, ЖК Красные Челны пос. 3ЯБ Комсомольский р-н

Производство других фасонных элементов

Кроме элементов трубопровода с кабелем вывода ООО Альфа-тех Инвест также выполняет заказы по производству и поставке следующих типов изделий и трубных элементов:

  • Тройники – трубный элемент, представленный в виде буквы «Т», помогающий осуществить второстепенные и дополнительные ответвления от главной магистрали.
  • Концевой элемент трубопровода с кабелем вывода – фасонный компонент, предназначенный главным образом для нормального функционирования СОДК, так как именно к нему происходит подключение устройств для мониторинга и отслеживания и осуществления контроля и состояния трубопроводной магистрали.
  • Отводы – элемент, применяющийся для возможности изменить направление трубопровода в случаях возникновения непредвиденных препятствий в виде других трубопроводов и остальных конструкций, как в вертикальном, так и в горизонтальном соотношении.

На нашем официальном сайте Вы можете купить элементы трубопровода с кабелем вывода, а также купить и оформить заказ других фасонных и дополнительных компонентов и трубных элементов нужного диаметра и исполнения по телефону: 8 (800) 700-43-11.

Купить элементы трубопроводов с кабелем вывода в Ростове-на-Дону

Наш завод предлагает купить элементы трубопроводов с кабелем вывода на оптимальных условиях. На сайте вы можете ознакомиться с широким ассортиментом, подобрать все необходимое для реализации вашего проекта. Если вам требуется дополнительная информация: 

Напишите нам!
Бесплатно по России
Вопросы и ответы
На каких условиях оплаты вы работаете?
Открыть/Закрыть
Стандартные условия — предоплата 100%. Для постоянных клиентов и крупных серийных заказов условия обсуждаются индивидуально.
Какие сроки изготовления вашей продукции?
Открыть/Закрыть
Сроки изготовления определяются индивидуально для каждого заказа. В среднем это от 5 до 14 рабочих дней.
Можете ли вы организовать доставку продукции до клиента?
Открыть/Закрыть
Мы сотрудничаем с множеством логистических компаний. Наши менеджеры рассчитают стоимость продукции с доставкой в любой регион России. В коммерческое предложение входит расчет веса, объема и необходимого количества транспорта. Вы также можете самостоятельно организовать доставку.
Можно ли приехать на ваш завод на ознакомительную экскурсию?
Открыть/Закрыть
Да, мы приглашаем потенциальных клиентов на экскурсию. Вы сможете ознакомиться с нашим производством и увидеть процесс изготовления интересующей вас продукции. Наш завод находится по адресу: Казань, ул. Михаила Миля, 53а.
Есть ли гарантия на вашу продукцию, и сколько она составляет?
Открыть/Закрыть
Мы предоставляем гарантию на производимую продукцию сроком до 30 лет.
Какие документы качества вы выдаете на производимую продукцию?
Открыть/Закрыть
На каждую партию отгружаемой продукции мы выдаем сертификат качества и паспорт.
WhatsApp Телеграм Телефон
Архангельская Область
Архангельск
Астраханская Область
Астрахань
Башкортостан Республика
Уфа
Владимирская Область
Владимир
Волгоградская Область
Волгоград
Воронежская Область
Воронеж
Кировская область
Киров
Кировская Область
Киров
Коми Республика
Сыктывкар
Костромская Область
Кострома
Красноярский Край
Красноярск
Ленинградская Область
Санкт-Петербург
Мордовия Республика
Саранск
Нижегородская Область
Нижний Новгород
Новосибирская Область
Новосибирск
Омская Область
Омск
Пензенская Область
Пенза
Пермский Край
Пермь
Ростовская Область
Ростов-на-Дону
Рязанская Область
Рязань
Самарская Область
СамараТольятти
Саратовская Область
БалаковоСаратов
Свердловская Область
Екатеринбург
Тамбовская Область
Тамбов
Тверская Область
Тверь
Тюменская Область
Тюмень
Удмуртская Республика
Ижевск
Ульяновская Область
Ульяновск
Ханты-Мансийский Автономный округ - Югра Автономный округ
Сургут
Челябинская Область
Челябинск
Чувашская Республика - Чувашия
Чебоксары
Ярославская Область
Рыбинск
Наверх